Q41F三片式法蘭球閥
Q41F三片式法蘭球閥适用于PN1.0~6.4MPa,工作溫度-29~180℃(密封圈爲增強聚四氟乙烯)或-29~300℃(密封圈爲對位聚苯)的各種管路上,用于截斷或接通管路中的介質。選用不同的材質可分别适用于水、蒸汽、油品、硝酸、醋酸等多種介質。
|
産品名稱: |
三片式法蘭球閥 |
産品型号: |
Q41F |
|
公稱通徑: |
DN6~DN100 |
結構形式: |
球形 |
|
公稱壓力: |
1.6Mpa~6.4Mpa(W.O.G) |
連接方式: |
法蘭 |
|
适用溫度: |
-20~232℃~350℃ |
驅動方式: |
手動、電動、氣動 |
|
閥體材質: |
鑄鋼、不鏽鋼 |
制造标準: |
國标GB、德國DIN、美國API、ANSI |
|
适用介質: |
水、油、氣及某些腐蝕性液體 |
生産廠家: |
上海凱利科閥門有限公司 |
産品說明
Q41F三片式法蘭球閥适用于PN1.0~6.4MPa,工作溫度-29~180℃(密封圈爲增強聚四氟乙烯)或-29~300℃(密封圈爲對位聚苯)的各種管路上,用于截斷或接通管路中的介質。選用不同的材質,可分别适用于水、蒸汽、油品、硝酸、醋酸等多種介質。
執行标準
設計規範:GB/T 12237
結構長度:GB/T 12221
連接法蘭:JB/T 79,HG20592,GB9113,ANSI
試驗與檢驗:JB/T 9092,GB/T13927
壓力-溫度:GB/T 9131
産品标識:GB/T 12220
産品特征。
|
公稱壓力 |
1.6-6.4MPa |
|
适用穩定範圍 |
-20~232℃~350℃ |
|
适用介質 |
水、油、氣及某些腐蝕性液體(W。O。G) |
|
對焊标準(BW) |
GB12224.ANSIB16.25 |
主要零件材料
|
零件名稱 |
材質 |
|
不鏽鋼 |
碳鋼 |
|
螺栓 |
不鏽鋼SS304 |
碳鋼 |
|
彈簧墊圈 |
不鏽鋼SS304 |
不鏽鋼SS304 |
|
螺母 |
不鏽鋼SS304 |
碳鋼 |
|
閥蓋 |
不鏽鋼CF8/CF8M |
碳鋼WCB |
|
閥體 |
不鏽鋼CF8/CF8M |
碳鋼WCB |
|
球體 |
不鏽鋼CF8 |
不鏽鋼CF8 |
|
密封圈 |
聚四氟乙烯PTFE |
聚四氟乙烯PTFE |
|
閥杆 |
不鏽鋼SS316 |
不鏽鋼SS304 |
|
填料 |
聚四氟乙烯PTFE |
聚四氟乙烯PTFE |
|
壓緊螺母 |
不鏽鋼SS316 |
不鏽鋼SS304 |
|
彈簧墊圈 |
不鏽鋼SS304 |
不鏽鋼SS304 |
|
螺母 |
不鏽鋼SS304 |
不鏽鋼SS304 |
|
手柄 |
不鏽鋼SS304 |
不鏽鋼SS304 |
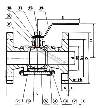
外形結構圖
主要連接尺寸及重量
|
SIZE |
1/2" |
3/4" |
1" |
1-1/4" |
1-1/2" |
2" |
2-1/2" |
3" |
4" |
|
d |
15 |
20 |
25 |
32 |
38 |
50 |
65 |
76 |
100 |
|
L |
130 |
150 |
160 |
180 |
200 |
230 |
290 |
310 |
350 |
|
D |
95 |
105 |
115 |
135 |
145 |
160 |
180 |
195 |
230 |
|
D1 |
65 |
75 |
85 |
100 |
110 |
125 |
145 |
160 |
190 |
|
D2 |
45 |
55 |
65 |
78 |
85 |
100 |
120 |
135 |
160 |
|
b |
14 |
16 |
16 |
18 |
18 |
20 |
22 |
24 |
24 |
|
f |
2 |
2 |
2 |
3 |
3 |
3 |
3 |
3 |
3 |
|
H |
75 |
95 |
90 |
110 |
130 |
140 |
170 |
180 |
250 |
|
w |
130 |
140 |
140 |
170 |
200 |
220 |
350 |
350 |
550 |
|
n-do |
4-14 |
4-14 |
4-14 |
4-18 |
4-18 |
8-18 |
8-18 |
8-18 |
8-22 |
聲明:【Q41F三片式法蘭球閥】規格型号、結構尺寸由上海凱利科閥門有限公司提供,如何選擇适用的Q41F三片式法蘭球閥産品,使之在工藝控制中安全可靠、經濟适用,可緻電我司銷售部門及技術部門,我們将在最短的時間内爲您解答! |